Back to Group on Visualization-based MCDM techniques

Independent Development of Preferable Efficient National Economic Strategies via INTERNET

This is an example application of the concept of INTERNET support of civil rihgt to know. Before you'll read it, you have to look through the decriptions of the Interactive Decision Maps technique and of the Feasible Goals Method. An econometric model of a national economy was used to describe the problem. Economic policy in the model was described by three policy variables: Economic system is considered during a time-period of ten years during which the policy variables do not change. Governmental consumption is measured in percents of a given level, and two other policy variables are measured in percents. The result of application of an economic policy is evaluated by three performance indicators used as the criteria for the choice of regulation strategy: The values of the GDP are measured in units equal to the value of the GDP in the last year before the time-period under consideration. The values of consumption are measured in the same way: units of measure equal to the consumption value in the last year before the time-period under consideration. The summarized balance of the state budget is measured in percents of the GDP in the last year before the period. It is clear that it is desirable to increase the values of all three criteria.

It was supposed that the values of regulation variables belong to the following ranges:

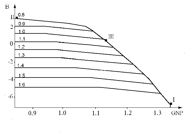
The decision map (see Interactive Decision Maps technique) related to the problem is given in the following Figure.

Here, efficient tradeoff curves between the GDP and the balance of the budget (actually, frontiers of what is feasible in terms of these two economic indicators) for given values of average private consumption are depicted. The consumption value which changes between 0.8 and 1.6 of the GDP is displayed near the tradeoff curve. The form of an efficient tradeoff curve shows how the GDP may be exchanged for budget balance if efficient regulation strategies are applied.

The maximal value of the GDP is achieved at the point I where the consumption has the maximal value, too. Unfortunately, the budget deficit is pretty large (about 6 percent) at this point. Vice versa, the maximal value of the budget surplus is achieved at the point II where the values of GDP and consumption are minimal. It is clear that the values of the GDP and of the consumption are closely related to the budget deficit. Indeed, the maximal consumption (not less than 1.6) is related to a large budget deficit. Vice versa, large positive budget surplus inevitably results in a decline of the consumption level (about 0.8 of initial value).

The above Figure helps to identify a reasonable balance between criteria. One can easily understand the relation between three criteria under consideration. It is interesting to note two features. First of all, the efficient tradeoff curves have a kink: an increment of the GDP does not influence the budget seriously for relatively small values of the GDP, and only after some value (which depends upon the consumption), the feasible budget balance starts to fall substantially with the growth of the GDP. Secondly, all tradeoff curves coinside for high values of the GDP. This means that one does not need to pay with the value of the GDP for a high value of the average consumption.

Suppose that user has indicated a feasible goal --- the point III in which the average private consumption equals to the consumption during the previous year, a small budget surplus (about 0.5 percent) is provided and a small growth of the GDP during the time-period under consideration is forecasted (about 1.1 during 10 years). This point may be chosen by a person who is interested in a balanced budget. Moreover, he/she supposes that the national debt should be decreased.

The related strategy is calculated by computer at once:

g = 135%, n = 35%, s = 14%.

So, according to the recommendations of user, government can afford a high consumption, but it has to establish reasonably large tax and interest rates. Surely these regulation strategy is the results of the econometric model which has been used. Econometric models have an important generic feature --- they are not suitable for the development of new strategies. Duscussing of this topic is beyond of our consideration. Unfortunately, we do not have a reliable model of a market economy. For this reason, we had to describe the above example which may have a methodological sence only.

We invite researchers who own reliable models of a market economy and are interested INTERNET resources supporting public decision making on important economic problems like governmental budget to contact us for discussions on joint development of new type of INTERNET resources. Once again, you may want to try a prototype INTERNET resource which is provided on our Web page.