Моделирование нештатных технологических режимов работы подводных участков газопроводов. Анализ событий, происходящих в аварийных ситуациях. Оценка факторов, определяющих экологические последствия аварий.

В.И.Зубов, В.Н.Котеров, В.М.Кривцов, А.В.Шипилин.

В 1996 г. в рамках договора с ИПО "Эко-Система" проводились работы по моделированию физических процессов, сопровождающих крупномасштабную аварию на подводном участке перехода газопровода "Ямал-Центр" через Байдарацкую губу.
В 1998 г. в рамках договора с ВНИИГАЗ начаты работы по моделированию нестационарных процессов, сопровождающих пуск и останов морского участка газопровода "Россия-Турция", а также процессов, сопровождающих крупномасштабную аварию на этом участке.


В процессе работ анализировались следующие вопросы.

1.1. Моделирование нестационарных технологических режимов работы газопровода, способных привести к чрезвычайным ситуациям (заполнение и начальный пуск, останов).
1.2. Определение газодинамических нагрузок на отдельные элементы трубопровода.

2.1. Разработка вероятных сценариев событий, сопровождающих крупномасштабную аварию.
2.2. Оценка разрушающих факторов, сопровождающих начальную (взрывную) стадию аварии.
2.3. Расчет нестационарных газодинамических процессов, развивающихся в поврежденном трубопроводе.
2.4. Моделирование истечения газа из поврежденного участка газопровода.
2.5. Оценки параметров выброса загрязняющих веществ (минеральная взвесь, газ) в окружающую среду.
2.6. Расчет распространения пятен загрязнения в окружающей среде.

3.1. Трубопровод Россия-Турция (морской участок): моделирование интенсивности локального загрязнения акватории сероводородом, выносимым на поверхность моря струей газа, бьющей из разрыва трубопровода.

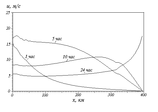
Заполнение природным газом морского участка трубопровода "Россия-Турция". Распределение скорости газа в трубопроводе в различные моменты времени при экспоненциальном законе подъема давления на входе в трубопровод.


Номинальный стационарный режим работы.
Избыточное давление газа в морском участке трубопровода по отношению к давлению окружающей воды


To Researсh Workgroup PageTo
Research Workgroup Page